TV SERRENO

Comunitatea depanatorilor TV incepatori sau avansati
gigi56
Mester
Mesaje: 109
Membru din: Sâm Dec 07, 2013 2:55 pm

TV SERRENO

Mesaj necitit de gigi56 »

Buna ziua,
Doresc de la dvs un mic ajutor, o schema pentru TV SERRENO Model : SER 21N - A8 ,si sasiul Model :AK TDA2111B V19 F4 .
Va doresc o seara frumoasa.
Avatar utilizator
PETRE
Site Admin
Mesaje: 4187
Membru din: Sâm Iun 18, 2011 8:38 pm

Re: TV SERRENO

Mesaj necitit de PETRE »

spune daca sursa se potriveste cu cea atasata
Fişiere ataşate
sursa_china.JPG
gigi56
Mester
Mesaje: 109
Membru din: Sâm Dec 07, 2013 2:55 pm

Re: TV SERRENO

Mesaj necitit de gigi56 »

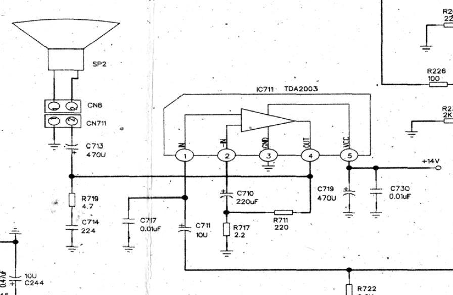
Va multumesc pentru schema ,imi este necesara schema pentru etajul de sunet ,si circuitul de sunet este CV203 ,era pe schemele pe care la am nu este cu acest curcuit
Avatar utilizator
PETRE
Site Admin
Mesaje: 4187
Membru din: Sâm Iun 18, 2011 8:38 pm

Re: TV SERRENO

Mesaj necitit de PETRE »

gigi56 scrie:era pe schemele pe care la am nu este cu acest curcuit
Numai D-zeu stie ce ai vrut sa spui.
Vezi daca se potriveste schema asta pentru audio, chiar daca notatiile difera.
Fişiere ataşate
audio.JPG
gaby508
Mester
Mesaje: 290
Membru din: Sâm Mar 28, 2015 11:32 am
Contact:

Re: TV SERRENO

Mesaj necitit de gaby508 »

Da, se pare ca este echivalent cu TDA 2003.
Ultima oară modificat Dum Noi 15, 2015 7:48 pm de către gaby508, modificat 1 dată în total.
Dacă planul A nu merge, stai calm! Alfabetul mai are încă 25 de litere.
Avatar utilizator
PETRE
Site Admin
Mesaje: 4187
Membru din: Sâm Iun 18, 2011 8:38 pm

Re: TV SERRENO

Mesaj necitit de PETRE »

Scrie răspuns